Ta strona używa pliki cookie w celu zapewnienia maksymalnej wygody podczas korzystania z naszej strony internetowej. Spośród tych plików cookie pliki sklasyfikowane jako niezbędne są przechowywane w Twojej przeglądarce, ponieważ są one konieczne do działania podstawowych funkcji strony. Używamy również plików cookie stron trzecich, które pomagają nam analizować i zrozumieć, w jaki sposób korzystasz z tej strony. Te pliki cookie będą przechowywane w przeglądarce tylko za Twoją zgodą. Masz również możliwość rezygnacji z tych plików cookie. Jednak rezygnacja z niektórych z tych plików cookie może mieć wpływ na wygodę przeglądania strony.
581 zł
Gotowy do wysyłki
Kod produktu:
15852
0 Opinie
Zawór sześciodrogowy Hayward SP0714TE do filtrów z przyłączem górnym 1.5".
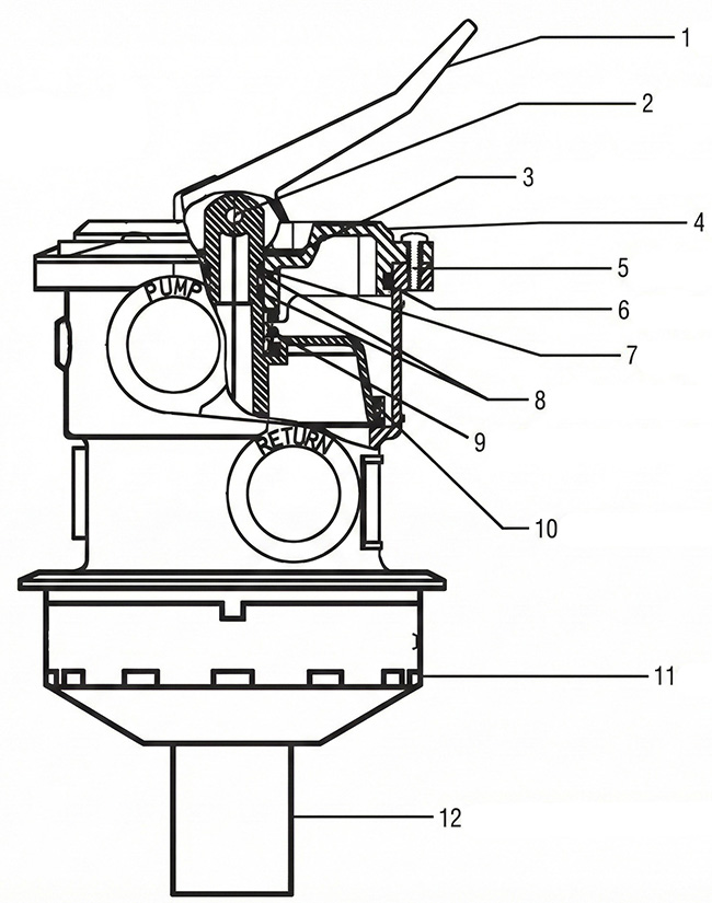
Schemat budowy zaworu sześciodrożnego
Hayward SP0714TE (1.5", przyłącze górne)
Hayward SP0714TE (1.5", przyłącze górne)


| № | Nazwa części | Kod części |
|---|---|---|
| 1 | Dźwignia do zaworu sześciodrożnego Hayward | SPX0710XF |
| 2 | Trzpień uchwytu do zaworu sześciodrożnego Hayward | – |
| 3 | Niemetalowa tuleja łożyskowa do zaworu sześciodrożnego Hayward | – |
| 4 | Pokrywa w komplecie (wirnik, pokrywa i uchwyt) do zaworu sześciodrożnego Hayward | – |
| 5 | Zestaw śrub do zaworu sześciodrożnego Hayward | SPX0714Z1 |
| 6 | Pierścień uszczelniający pokrywy 1.5" do zaworu sześciodrożnego Hayward | SPX0714L |
| 7 | Pierścień uszczelniający 1.5" do zaworu sześciodrożnego Hayward | SPX0735GA |
| 8 | Podkładki sprężyste (zestaw 2 szt.) do zaworu sześciodrożnego Hayward | – |
| 9 | Mechanizm wykonawczy 1.5" do zaworu sześciodrożnego Hayward | SPX0714CA |
| 10 | Dyfuzor do zaworu sześciodrożnego Hayward | - |
| 11 | Obudowa zaworu z uszczelką i wziernikiem do zaworu sześciodrożnego Hayward | – |
Charakterystyki
| Kod kreskowy | 610 377 489 690 |
|---|---|
| Artykuł towaru | SP0714TE |
| Dane dotyczące bezpieczeństwa | Pobierz |
| Pliki do pobrania | Schemat budowy |
| Rodzaj części | Zawór sześciodrożny |
| Zawartość zestawu |
|
| Producent | Hayward |
| Waga brutto, kg | 2.0 |
| Gwarancja | 6 miesięcy |
Opinie (0)
Zostaw opinię lub zadaj pytanieZawór sześciodrogowy Hayward SP0714TE (1.5") górny
Darmowa dostawa przy zamówieniach powyżej 1000 zł*
Sposoby dostawy:
- Przesyłka kurierska InPost
- Dostawa do paczkomatu InPost
- Przesyłki powyżej 30 kg dostarczane są przez firmę transportową Geis.
Wybierz najwygodniejszą dla Ciebie metodę płatności
Metody Płatności
- Szybki przelew PayU, PayPal
- Karta płatnicza podczas składania zamówienia i w przypadku przesyłki kurierskiej
- Gotówka w przypadku przesyłki kurierskiej
- Przelew tradycyjny
Szybka wysyłka w dniu zamówienia
Czas realizacji zamówienia:
- Wszystkie zamówienia złożone od poniedziałku do piątku do godziny 12:00 są wysyłane tego samego dnia. Wyjątkiem są miesiące wysokiego sezonu (czerwiec, lipiec) - zamówienia w tym okresie mogą zostać wysłane w następnym dniu roboczym.
- Zamówienia złożone po godzinie 12:00 w piątek zostaną zrealizowane w poniedziałek.
30 dni na zwrot towaru bez podania przyczyny
Termin do odstąpienia od umowy wygasa po upływie 30 dni od dnia, w którym klient wszedł w posiadanie rzeczy lub w którym osoba trzecia inna niż przewoźnik i wskazana przez klienta weszła w posiadanie Produktu.


